
(来源:光伏产业网官微)

]article_adlist-->
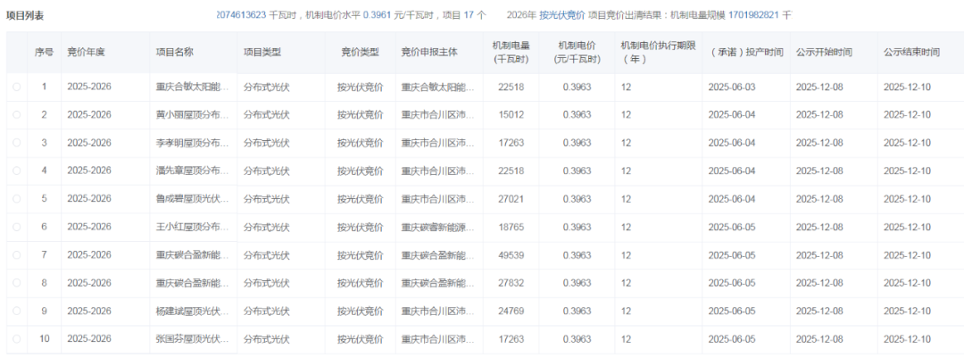
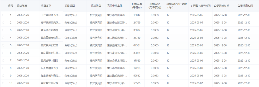
12月8日,重庆首轮增量新能源项目机制电价竞价结果公示。
根据公示,2026年按光伏竞价项目竞价出清结果:机制电量规模1701982821千瓦时,机制电价水平0.3963元/千瓦时,项目3865个。
2026年按风电竞价项目竞价出清结果:机制电量规模2074613623千瓦时,机制电价水平0.3961元/千瓦时,项目17个
10月29日,重庆市发展和改革委员会、重庆市经济和信息委员会、重庆市能源局发布《关于2025—2026年度新能源机制电价竞价工作有关事项的通知》。
通知明确了竞价关键参数,
(一)电量规模。机制电量总规模为48.6亿千瓦时(按全年计算,下同),其中,风电为22.6亿千瓦时,光伏发电为26亿千瓦时。
(二)申报充足率。风电、光伏发电项目竞价申报充足率均为120%。
(三)机制电量比例。单个项目机制电量申报比例上限为90%。
(四)竞价上下限。风电、光伏发电项目竞价上限均为0.3964元/千瓦时,竞价下限均为0.2元/千瓦时。
(五)执行期限。风电、光伏发电项目机制电价执行期均为12年。
部分项目如下:

来源:新能源云
诚征稿件
期待您的专业洞见与实战经验
投稿请发送至邮箱936604464@qq.com
一经采用,稿费从优
责任编辑:菠萝包
校对:阿越
审核:老张
特别声明:光伏产业网转载其他网站内容,出于传递更多信息而非盈利之目的,同时并不代表赞成其观点或证实其描述,内容仅供参考。版权归原作者所有,若有侵权,请联系我们删除。


海量资讯、精准解读,尽在新浪财经APP
瑞和网提示:文章来自网络,不代表本站观点。